PRODUCT

ブローチ研磨機

ブローチ研磨機

TKG

TKG

特長

研削面を宝ブローチの再研磨に必要な「天刃2番逃げ面」(逃げ角)に限定し、且つ各軸移動方式を全て手動にすることによって、小型化・低価格化を可能に

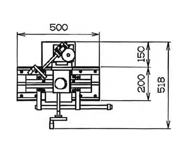
  • TKG 図面
  • TKG 図面
  • TKG 図面

SPECIFICATION

仕様

X軸ストローク 400mm /
ならい式手動ピッチ送り
(P5.P6.P8.P10.P12)
Y軸ストローク 60mm /
手動研削レバー
Z軸ストローク 55mm /
手動上下ハンドル0.2mm/rev
砥石モーター 3600rpm(60Hz) /
3000rpm(50Hz)
200V3相 0.2Kw(2P)TAC
使用砥石 Φ75mm /
CBNカップホイール
本体重量 70kg
  • ※予告なく仕様を変更することがあります、ご容赦ください。

DOWNLOAD

カタログ・取扱説明書ダウンロード